ZFCG-G2023054号许昌日报社“许昌日报社建设许昌市融媒体中心融媒平台项目(不见面开标)”招标公告-评标公示
ZFCG-G2023054号号许昌日报社“建设许昌市融媒体中心融媒平台”项目评标报告
一、项目概况
(一)项目名称:建设许昌市融媒体中心融媒平台
(二)项目编号:ZFCG-G2023054号
(三)招标公告发布日期:2023年7月21日
(四)变更公告发布日期:2023年7月28日
(五)开标日期:2023年8月14日08:30
(六)采购方式:公开招标
(七)最高限价:800万元
(八)评标办法:综合评分法
(九)资格审查方式:资格后审
(十) 招标公告刊登的媒体:中国政府采购网、河南省政府采购网、许昌市政府采购网、许昌市人民政府综合门户网、全国公共资源交易平台(河南省·许昌市)。
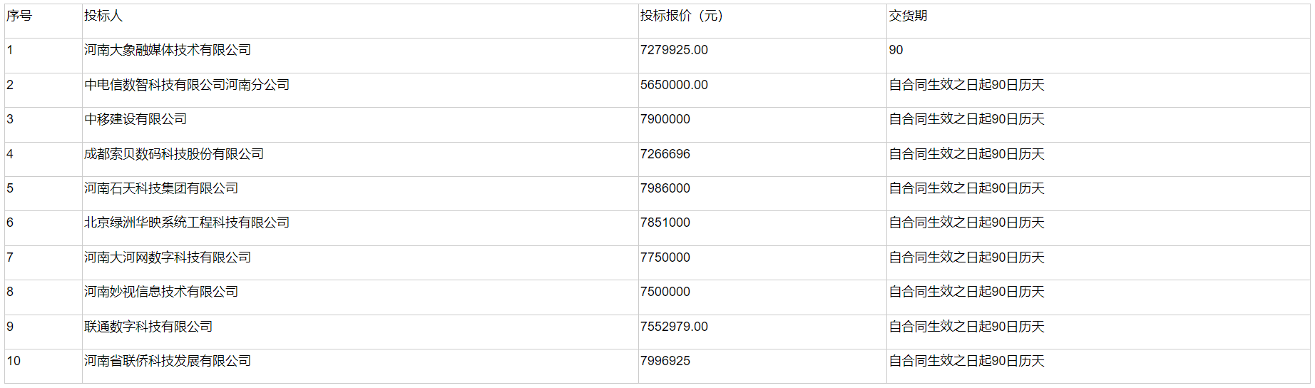
二、开标记录及投标报价

三、资格审查情况

四、评审情况
(一)符合性审查
硬件特征码是否异常:否


(二)综合比较与评价

备注:
1、投标报价政策性加分(政策性加分是指对中小企业、监狱企业、残疾人福利性单位的价格扣除;对节能环保产品的加分等):无。
2、投标文件填报业绩名称
评标委员会审查通过的:
(1)2021年4月,三门峡市建设投资发展有限公司,三门峡广播电视台设备采购项目;
(2)2023年5月,鹤壁日报社,鹤壁市融媒体中心融媒体平台建设;
(3)2021年10月,河南广播电视台,河南省县级融媒体技术支撑平台省级平台三期项目;
评标委员会审查未通过的:无
3、投标文件填报人员职称证书名称
评标委员会审查通过的:
(1)投标人拟投入项目组人员具备人力资源和社会保障部门颁发的新闻类专业高级职称证书2个;
(2)投标人所提供项目组人员具备人力资源和社会保障部门颁发的网络工程师认证证书1个;
评标委员会审查未通过的:无
4、投标文件填报其他相关证书(奖项)名称
评标委员会审查通过的:
(1)投标人具有国家认证认可监督管理委员会认可的从业机构出具ISO14001环境管理体系认证证书、ISO45001职业健康安全管理体系认证证书、ISO9001质量管理体系认证证书、ISO20000信息技术服务管理体系认证证书、ISO27001信息安全管理认证证书各1个;
(2)采购清单序号1.1的“用户管理”类、“专题管理”类证书、“大屏数据可视化管理”类、“写稿平台”类、“文本校验模块”类、“新媒体矩阵管理”类、“用户行为分析模块”类计、“跨模态检索模块”类、“智能预警模块”类、“数据库审计系统模块”类计算机软件著作权登记证书各1个。
评标委员会审查未通过的:无

备注:
1、投标报价政策性加分(政策性加分是指对中小企业、监狱企业、残疾人福利性单位的价格扣除;对节能环保产品的加分等):无。
2、投标文件填报业绩名称
评标委员会审查通过的:
(1)2021年9月,中共河南省委宣传部,县级融媒体5G便携终端及配套服务项目
(2)2022年7月,北京奥维视讯科技有限责任公司,融媒体业务管理平台项目
(3)2022年11月,平顶山市广播电视台,媒体5G+AI 提升改造工程项目第三标段
评标委员会审查未通过的:无
3、投标文件填报人员职称证书名称
评标委员会审查通过的:
(1)投标人所提供项目组人员具备人力资源和社会保障部门颁发的网络工程师认证证书1个
评标委员会审查未通过的:无
4、投标文件填报其他相关证书(奖项)名称
评标委员会审查通过的:
(1)投标人具有国家认证认可监督管理委员会认可的从业机构出具ISO14001环境管理体系认证证书、ISO45001职业健康安全管理体系认证证书、ISO9001质量管理体系认证证书、ISO20000信息技术服务管理体系认证证书、ISO27001信息安全管理认证证书各1个;
(2)采购清单序号1.1的“用户管理”类、“专题管理”类证书、“大屏数据可视化管理”类、“写稿平台”类、“文本校验模块”类、“新媒体矩阵管理”类、“用户行为分析模块”类计、“跨模态检索模块”类、“智能预警模块”类、“数据库审计系统模块”类计算机软件著作权登记证书各1个。
评标委员会审查未通过的:无

备注:
1、投标报价政策性加分(政策性加分是指对中小企业、监狱企业、残疾人福利性单位的价格扣除;对节能环保产品的加分等):无。
2、投标文件填报业绩名称
评标委员会审查通过的:
(1)2020年8月,科尔沁右翼前旗融媒体中心,网络改造工程施工合同
(2)2022年8月,迁安市融媒体中心,高清设备改造项目合同
(3)2021年3月,中国移动通信集团湖南有限公司张家界分公司,慈利县融媒体(云广播系统)建设ICT项目合同
评标委员会审查未通过的:无
3、投标文件填报人员职称证书名称
评标委员会审查通过的:
(1)投标人所提供项目组人员具备人力资源和社会保障部门颁发的网络工程师认证证书2个;
评标委员会审查未通过的:无
4、投标文件填报其他相关证书(奖项)名称
评标委员会审查通过的:
(1)投标人具有国家认证认可监督管理委员会认可的从业机构出具ISO14001环境管理体系认证证书、ISO45001职业健康安全管理体系认证证书各1个;
(2)采购清单序号1.1的“用户管理”类、“专题管理”类证书、“大屏数据可视化管理”类计算机软件著作权登记证书各1个。
评标委员会审查未通过的:无

备注:
1、投标报价政策性加分(政策性加分是指对中小企业、监狱企业、残疾人福利性单位的价格扣除;对节能环保产品的加分等):无。
2、投标文件填报业绩名称
评标委员会审查通过的:
(1)2021年11月,郑州报业集团融媒体中心,融媒体项目
(2)2020年6月,深圳报业集团,大厦全媒体指挥中心系统集成项目
(3)2023年5月,河北日报,智媒体中心指挥调度中心和演播室项目
(4)2021年7月,中央广播电视总台,技术局新闻云生产能力扩充(二)
(5)2020年9月,中山广播电视台,中山市融媒体中心建设项目
(6)2022年1月,石家庄广播电视台,媒体融合基础设施提升改造项目
(7)2022年5月,湛江市融媒体中心,湛江市融媒体二期项目
评标委员会审查未通过的:无
3、投标文件填报人员职称证书名称
评标委员会审查通过的:
(1)投标人所提供项目组人员具备人力资源和社会保障部门颁发的网络工程师认证证书1个
评标委员会审查未通过的:无
4、投标文件填报其他相关证书(奖项)名称
评标委员会审查通过的:
(1)投标人具有国家认证认可监督管理委员会认可的从业机构出具ISO14001环境管理体系认证证书、ISO45001职业健康安全管理体系认证证书、ISO9001质量管理体系认证证书、ISO20000信息技术服务管理体系认证证书、ISO27001信息安全管理认证证书各1个;
(2)采购清单序号1.1的“用户管理”类、“专题管理”类证书、“大屏数据可视化管理”类、“写稿平台”类、“文本校验模块”类、“新媒体矩阵管理”类、“用户行为分析模块”类计、“跨模态检索模块”类、“智能预警模块”类、“数据库审计系统模块”类计算机软件著作权登记证书各1个。
评标委员会审查未通过的:无

备注:
1、投标报价政策性加分(政策性加分是指对中小企业、监狱企业、残疾人福利性单位的价格扣除;对节能环保产品的加分等):无。
2、投标文件填报业绩名称
评标委员会审查通过的:
(1)2022年3月,安阳县融媒体中心,广播电台设备、新媒体设备项目
(2)2021年12月,新乡广播电视台,融媒体采编设备
评标委员会审查未通过的:原因:
3、投标文件填报人员职称证书名称
评标委员会审查通过的:无
评标委员会审查未通过的:无
4、投标文件填报其他相关证书(奖项)名称
评标委员会审查通过的:无
评标委员会审查未通过的:无

备注:
1、投标报价政策性加分(政策性加分是指对中小企业、监狱企业、残疾人福利性单位的价格扣除;对节能环保产品的加分等):无。
2、投标文件填报业绩名称
评标委员会审查通过的:
(1) 2020年6月,许昌广播电视台,高清播出升级设备项目、主要内容为播出周边设备
(2) 2023年2月,商丘广播电视台,商丘市融媒体中心项目广播融媒设备采购项目(二次)
评标委员会审查未通过的:无
3、投标文件填报人员职称证书名称
评标委员会审查通过的:无
评标委员会审查未通过的:无
4、投标文件填报其他相关证书(奖项)名称
评标委员会审查通过的:
(1)投标人具有国家认证认可监督管理委员会认可的从业机构出具ISO14001环境管理体系认证证书、ISO45001职业健康安全管理体系认证证书、ISO9001质量管理体系认证证书各1个;
(2)采购清单序号1.1的“用户管理”类、“专题管理”类证书、“大屏数据可视化管理”类、“写稿平台”类、“文本校验模块”类、“新媒体矩阵管理”类、“用户行为分析模块”类计、“跨模态检索模块”类、“智能预警模块”类计算机软件著作权登记证书各1个。
评标委员会审查未通过的:无

备注:
1、投标报价政策性加分(政策性加分是指对中小企业、监狱企业、残疾人福利性单位的价格扣除;对节能环保产品的加分等):无。
2、投标文件填报业绩名称
评标委员会审查通过的:
(1)2022年6月,建信金融科技(河南)有限公司,河南省住建厅融媒体中心采购项目
(2)2022年3月,大河网络传媒集团有限公司,南阳市全媒体中心统一管理平台建设项目
评标委员会审查未通过的:无
3、投标文件填报人员职称证书名称
评标委员会审查通过的:
(1)投标人拟投入项目组人员具备人力资源和社会保障部门颁发的新闻类专业职称高级职称证书2个;
(2)投标人所提供项目组人员具备人力资源和社会保障部门颁发的网络工程师认证证书2个。
评标委员会审查未通过的:无
4、投标文件填报其他相关证书(奖项)名称
评标委员会审查通过的:
(1)投标人具有国家认证认可监督管理委员会认可的从业机构出具ISO14001环境管理体系认证证书、ISO45001职业健康安全管理体系认证证书、ISO9001质量管理体系认证证书、ISO20000信息技术服务管理体系认证证书、ISO27001信息安全管理认证证书各1个;
(2)采购清单序号1.1的“用户管理”类、“专题管理”类证书、“大屏数据可视化管理”类、“写稿平台”类、“文本校验模块”类、“新媒体矩阵管理”类、“用户行为分析模块”类计、“跨模态检索模块”类、“智能预警模块”类、“数据库审计系统模块”类计算机软件著作权登记证书各1个。
评标委员会审查未通过的:无

备注:
1、投标报价政策性加分(政策性加分是指对中小企业、监狱企业、残疾人福利性单位的价格扣除;对节能环保产品的加分等):无。
2、投标文件填报业绩名称
评标委员会审查通过的:
(1)2022年6月,中国人民政治协商会议福建省委员会办公厅,福建省政协融媒体工作平台项目;
(2)2022年5月,中共毫州市谯城区委宣传部,毫州市谯城区融媒体中心融媒体制播系统设备及工艺安装集成项目
评标委员会审查未通过的:无
3、投标文件填报人员职称证书名称
评标委员会审查通过的:
(1)投标人所提供项目组人员具备人力资源和社会保障部门颁发的网络工程师认证证书2个
评标委员会审查未通过的:无
4、投标文件填报其他相关证书(奖项)名称
评标委员会审查通过的:
(1)投标人具有国家认证认可监督管理委员会认可的从业机构出具ISO14001环境管理体系认证证书、ISO45001职业健康安全管理体系认证证书、ISO9001质量管理体系认证证书、ISO27001信息安全管理认证证书各1个;
(2)采购清单序号1.1的“用户管理”类、“专题管理”类证书、“大屏数据可视化管理”类、“写稿平台”类、“文本校验模块”类、“新媒体矩阵管理”类、“用户行为分析模块”类计、“跨模态检索模块”类、“智能预警模块”类、“数据库审计系统模块”类计算机软件著作权登记证书各1个。
评标委员会审查未通过的:
(1)投标人具有国家认证认可监督管理委员会认可的从业机构出具ISO20000信息技术服务管理体系认证证书
原因:未通过2022年监审。

备注:
1、投标报价政策性加分(政策性加分是指对中小企业、监狱企业、残疾人福利性单位的价格扣除;对节能环保产品的加分等):无。
2、投标文件填报业绩名称
评标委员会审查通过的:无
评标委员会审查未通过的:
(1)中国石化国际事业有限公司,化工零购视频会议系统
(2)郑州市第四十四高级中学,生物创新实验室项目、项目软件开发和系统集成
(3)郑州市第四十四高级中学,计算机教室设备项目
原因:未提供合同。
3、投标文件填报人员职称证书名称
评标委员会审查通过的:无
评标委员会审查未通过的:无
4、投标文件填报其他相关证书(奖项)名称
评标委员会审查通过的:
(1)采购清单序号1.1的“用户管理”类、“专题管理”类证书、“大屏数据可视化管理”类、“写稿平台”类、“文本校验模块”类、“新媒体矩阵管理”类、“用户行为分析模块”类计、“跨模态检索模块”类、“智能预警模块”类计算机软件著作权登记证书各1个。
评标委员会审查未通过的:无
五、评标委员会推荐中标候选人情况
第一中标候选人
(一)中标人候选人名称:河南大河网数字科技有限公司
(二)统一社会信用代码:91410105MA9GLXHM0N
(三)地址:河南省郑州市郑东新区尚贤街32 号自然资源大厦A 座19 层
(四)联系人:魏龙飞 联系方式(手机):0371-65795899
(五)中标金额: 7750000元
第二中标候选人
(一)中标人候选人名称:河南大象融媒体技术有限公司
(二)统一社会信用代码:914101003494425226
(三)地址:河南省郑州市金水区国基路60 号国家知识产权创意产业试点园区A 座6 楼0605-16 室
(四)联系人:朱俊清 联系方式(手机):0371-87579239
(五)中标金额: 7279925元
第三中标候选人
(一)中标人候选人名称:中电信数智科技有限公司河南分公司
(二)统一社会信用代码:914101006728622369
(三)地址: 郑州市金水区宝瑞路115 号河南省信息安全产业示范基地12 号楼01 号1-5层
(四)联系人:张育豪 联系方式(手机):17796690912
(五)中标金额: 5650000元
六、采购人授权评标委员会确定中标人情况
(一)中标人候选人名称:河南大河网数字科技有限公司
(二)统一社会信用代码:91410105MA9GLXHM0N
(三)地址:河南省郑州市郑东新区尚贤街32 号自然资源大厦A 座19 层
(四)联系人:魏龙飞 联系方式(手机):0371-65795899
(五)中标金额: 7750000元
七、投标人根据评标委员会要求进行的澄清、说明或者补正:无。
八、是否存在评标委员会成员更换:否。
九、评标委员会成员名单:刘俊民(采购人代表)、郑首义(经济)何丰收(技术)董瑞鸽(技术)陈东杰(主任、技术)
2023年8月14日
编辑:娄恒





